Основы технологии и агротехники плантационного возделывания клюквы

Автор публикации:
Информация о публикации:

Лесная опытная станция, г. Кострома, Россия

Около 180 лет в США выращивают на плантациях североамериканский болотный ягодник – клюкву крупноплодную [Vaccinium macrocarpon Ait. syn. Oxycoccus macrocarpus Pers.]. К концу 20 в. площадь плантаций клюквы в этой стране превысила 15 тыс.га, а ежегодный валовой сбор ягод достиг 250 тыс. т, который оценивался более чем в 300 млн. долларов [Cranberries, 1998]. Около 100 лет клюква успешно возделывается в Канаде, но в более скромных масштабах (примерно 22–23 тыс. т в год).

В 80-х годах прошлого столетия тогдашним Министерством лесного хозяйства РСФСР были предприняты попытки создания плантаций клюквы американской и отечественного вида – клюквы болотной [Oxycoccus palustris Pers.] в ряде областей европейской территории СССР. К сожалению, этот опыт для российских клюквоводов оказался неудачным. Основными причинами неудачи явились недостатки при подборе площадей и подготовке почвы, некритический перенос технологических и агротехнических приемов выращивания клюквы из Америки в условия России, слабое знание биологии и экологии американских сортов, отсутствие опыта культивирования клюквы и другие. Плоды средне- и позднеспелых сортов американской клюквы не успевали вызревать до наступления осенних холодов, побеги клюквы часто повреждались поздневесенними и раннеосенними заморозками, а также зимними морозами (в малоснежные периоды), на большинстве плантаций зимнее затопление клюквы водой (для защиты клюквы от морозов) оказалось невозможным из-за отсутствия водоемов или погрешностей в строительстве шлюзов, в качестве мульчирующего материала на некоторых плантациях был применен мелкозернистый песок с илистыми частицами, что способствовало массовому появлению и разрастанию сорных растений.
Одновременно с клюквой крупноплодной на отдельных плантациях была произведена посадка дикорастущей клюквы болотной. Заготовка посадочного материала (побегов) велась на близлежащих болотах без селекционного отбора. В отличие от американской клюквы отечественный вид оказался более устойчивым по отношению к заморозкам и морозам, однако вегетативную массу он наращивал медленнее, плоды по величине явно уступали американским сортам, соответственно и урожайность оказалась низкой, что делало выращивание отечественного вида нерентабельным.
Научные сотрудники Костромской лесной опытной станции были привлечены к обследованию созданных плантаций и разработке мер по повышению их продуктивности. В процессе обследования плантаций в Костромской, Ярославской, Рязанской и Нижегородской областях были организованы наблюдения за ростом и развитием культивируемых видов клюквы, формированием урожая, появлением сорняков, болезней и насекомых – вредителей с оценкой их влияния на растения. На всех плантациях были заложены опыты применения минеральных удобрений, фунгицидов и гербицидов, осуществлены эксперименты по мульчированию почвы и зарослей клюквы, защите растений от морозов. При этом учитывались почвенные различия на плантациях и особенности технологических и агротехнических приемов их создания.
Одновременно с этой работой велись интенсивные исследования, ориентированные на создание сортов отечественного вида клюквы. Базой исследований послужили хозяйственно ценные формы клюквы, отобранные в республиках областях б. СССР в предыдущие годы и интродуцированные на специально созданный коллекционный участок под г. Костромой (Черкасов, 1979). Многолетние целенаправленные работы по программе сортоизучения ягодных культур привели в конце 90-х годов прошлого столетия к созданию 7 первых в России сортов клюквы болотной (статью об этих сортах см. в настоящем сборнике), что открыло перспективу плантационного возделывания отечественного вида клюквы.
Для закладки плантаций клюквы пригодны выработанные торфяники верхового и переходного типа с мощностью слоя торфа не менее 40–50 см. Возможно использование и низинных торфяников с показателями торфа, близкими к переходному типу. Имеется информация о выращивании клюквы крупноплодной на песчаных почвах. Только что вышедшие из-под торфоразработок площади можно считать наиболее подходящими для закладки плантаций, так как поверхность таких полей свободна от сорняков, хорошо спланирована, имеется сеть каналов (Черкасов, Горбунов, 1994). Плантации клюквы могут быть созданы на осушенных и невыработанных торфяниках, но при этом возрастает объем работ.
Наиболее благоприятны для роста клюквы кислые торфа с рН = 3–5 (с колебаниями от 2 до 5.5). Вблизи участка должен находиться источник водоснабжения или выбрано место для искусственного водоема с возможностью заполнения и периодического пополнения его водой. Потребные запасы воды в водоемах рассчитываются с учетом необходимости не только периодического полива посадок, но и затопления плантации на зиму, для чего требуется не менее 3000 куб. м воды на гектар.
Плантацию следует размещать вблизи дорог общего назначения для доставки механизмов, материалов, людей, вывозки продукции. Следует учитывать возможность подвода к плантации электроэнергии и наличие рабочей силы, а также перспективу расширения плантации. В экологически неблагоприятных районах выбор участка должен сопровождаться анализом почвы и воды на загрязненность радионуклидами, тяжелыми металлами, химическими средствами защиты растений и другими загрязнителями.
На осушенном, не выработанном торфянике вырубают деревья и корчуют пни с помощью корчевателя-собирателя МП-7А, ДП-8А или корчевального агрегата МП-8. Относительно тонкие корневища и пни могут быть удалены с помощью специальных вычесывателей, имеющихся в торфопредприятиях. Затем производится снятие очеса – верхнего неразложившегося слоя сфагнового мха и другой растительности (около 0.5 м). Для снятия очеса применяются кавальеро-разравниватель МК-21, бульдозеры ДЗ-27С или ДЗ-607. Очес сдвигают в валы по краям будущих полей (чеков) и частично используют для строительства дамб. Излишки очеса убирают за пределы участка.
После снятия очеса производят заравнивание образованных повышений и понижений и фрезерование участка. С этой целью применяют машины для глубокого фрезерования закустаренных земель МТП-42А или МТП-44А. После фрезерования осуществляют выравнивание поверхности полей с помощью кавальеро-разравнивателя МК-21, скреперов ДЗ-77-1, Д-569 или Д-679 (ДЗ-57). Могут быть использованы также бульдозеры на базе тракторов Т-130 и ДТ-75. Вслед за выравниванием выполняют планировку поверхности полей длиннобазовыми планировщиками ДЗ-602А, ДЗ-603, ПВМ-4.0, ПВН-3.0, П-2.8А, шнековым профилировщиком ТПШ-2. Планировка должна быть очень тщательной (с использованием нивелира), вертикальные отметки разных участков полей не должны различаться более чем на ± 5 см.
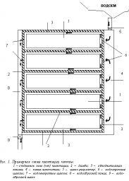
После планировки площади участок будущей плантации разбивают на поля (чеки) размером 40Ч150, 400Ч200, 50Ч200, 40Ч250 в зависимости от конфигурации участка и с учетом захвата дождевальных насадок оросительной установки. Одновременно производят разметку обводнительно-осушительных каналов и канав, которые служат для поддержания оптимального уровня грунтовых вод на полях плантации, для затопления полей и сброса воды.
Грунт, извлеченный при прокладке дренажной системы, укладывают по границам полей, разравнивают, уплотняют и отсыпают песком. Образующиеся дамбы необходимы для затопления полей и служат для проезда средств транспорта. При строительстве дамб предусматривают места съезда на каждое поле плантации. Дренажные канавы соединяют с магистральным и обводным каналами системой шлюзов и запорных устройств (для подачи и сброса воды). В основу работ по строительству плантации можно положить прилагаемую примерную схему плантации клюквы крупноплодной, наиболее часто используемую в США и Канаде (рис. 1).
Подготовку полей участка к посадочным работам завершают нанесением на поверхность спланированных полей слоя песка толщиной 5–7 см (Черкасов и др., 1981). Пескование осуществляют только при закладке плантаций клюквы крупноплодной хорошо промытым крупно- или среднезернистым песком без семян сорных растений. Если такой песок вблизи участка отсутствует, операцию пескования исключают. При закладке плантаций на низинном торфе или на минеральной (супесчаной, песчаной) почве на поверхность полей рекомендуется нанесение слоя верхового торфа толщиной 15–20 см.
Посадку клюквы осуществляют побегами или черенками вручную или механизированным способом. В США и Канаде довольно часто используют механизированный способ. Побеги клюквы крупноплодной разбрасывают по участку и вдавливают их в почву специальными катками с ребордами. Этот способ значительно производительнее ручного, но требует большого количества посадочного материала, которого в России пока еще мало.
При посадке черенками используют разную их длину – от 12–15 до 25–30 см. Черенки первой группы длины заделывают в почву, надавливая на их основания специальным сажальным колышком, оставляя над почвой 2–3 см черенка. В каждое посадочное место помещают по 1–3 черенка в зависимости от их количества. Черенки длиной 25–30 см вдавливают в почву, нажимая на их середину. Расстояние между посадочными местами в ряду и между рядами может изменяться от
20х20 см до 30х30 см в зависимости от наличия посадочного материала (Черкасов, 2001). Наиболее приемлемой можно считать ленточную 4-х строчную схему с расстоянием между строчками 25 см, а между посадочными местами в строчке 20–25 см. Между лентами оставляют обычно 40–50 см для прохода сажальщиков. При этой схеме и посадке по два черенка в посадочное место требуется около 300–500 тысяч черенков на 1 га.
Основы технологии и агротехники плантационного возделывания клюквы

Более густая посадка обеспечивает более быстрое смыкание растений в ряду и между рядами, облегчает в дальнейшем борьбу с сорняками, повышает урожай ягод в первые годы плодоношения, но увеличивает расходы на посадочный материал и затраты на посадку.

Посадочные работы осуществляют в весеннее время, в апреле – первой половине мая. В условиях Костромской и соседних областей они возможны до конца мая. После посадки черенков уровень воды в обводнительных канавах поднимают до поверхности почвы или участок обильно поливают с помощью мотопомпы или дождевальной установки. Укоренение черенков наступает в среднем на 20-й день. Приживаемость черенков обычно составляет 93–98%.

Посадочные работы возможны и осенью, в сентябре, но при этом возрастает вероятность выжимания черенков из почвы. Не всегда удается избежать этого явления и при весенней посадке, поэтому в апреле следующего года бывает необходимой оправка растений.

Уход за плантацией заключается в поддержании оптимального уровня водоснабжения и минерального питания растений клюквы, периодическом мульчировании посадок, борьбе с сорняками, защите от болезней, насекомых – вредителей, заморозков и морозов.
Наилучшие условия для нормального роста и развития растений клюквы создаются при поддержании влажности почвы в течение вегетационного периода на уровне 60-70% от ее полной влагоемкости (Руководство…, 1992). Это обеспечивается двумя путями: регулированием уровня грунтовых вод и применением дождевания.
На верховых торфяниках оптимальный уровень грунтовых вод (УГВ) для ростовых процессов клюквы (до начала плодоношения) находится в пределах 40–50 см при периодическом увлажнении поверхности почвы путем дождевания. Влажность корнеобитаемого слоя почвы в указанный период должна составлять около 60% от полной влагоемкости.
Во время плодоношения клюквы она более требовательна к влаге. Лучшие условия для формирования урожая клюквы болотной создаются при УГВ около 25 см, а клюквы крупноплодной – 30–35 см.
Клюква является олиготрофным микоризным растением, поэтому по сравнению с другими культурами нуждается в малом количестве удобрений. Наибольший эффект на клюквенных плантациях достигается при дробном внесении удобрений в несколько приемов. В зависимости от состояния растений в период вегетации обычно проводят 2–4-разовую подкормку. Внесение туков производят в определенные периоды развития растений: до начала вегетации, до цветения и после появления завязи.
Дозы удобрений определяются для каждой конкретной плантации отдельно опытным путем. В зависимости от кислотности почвы, степени разложения торфа, его типа и других факторов вносят полное (азотно-фосфорно-калийное) минеральное удобрение в соотношениях 1:2:1, 1:3:1, 1:4:2 и др.
Черкасов и др.,1981; уководство…,1992). На олиготрофных торфяниках в центральных областях РФ хорошие результаты в наших опытах получены при внесении комплексных удобрений в дозах N15Р30-60К15-30 по действующему веществу. Внесение фосфорных удобрений целесообразно за один прием, а азотных и калийных – за два (в начале вегетации и по окончании цветения). Опыты показали возможность применения полных удобрений на плантациях клюквы болотной один раз в два года.
В процессе эксплуатации клюквенных плантаций в США и Канаде проводят периодическое мульчирование посадок песком. Этот прием стимулирует корне- и побегообразовательные процессы, ускоряет минерализацию опада (листьев, усохших побегов), снижает численность насекомых-вредителей. Мульчирование песком осуществляют один раз в 3–4 года слоем до 2 см по льду в зимнее время, что позволяет механизировать эту операцию. Применяемый для мульчирования песок
должен быть крупно- или среднезернистым без илистых частиц и семян сорных растений. Если такой песок отсутствует или он находится на большом удалении от плантации, то для мульчирования посадок клюквы используют торфяную крошку (из верхового или переходного торфа).
При возделывании клюквы на плантациях наиболее сложной задачей является борьба с сорняками, особенно в первые 3–4 года после посадки, пока растения клюквы не покроют всю поверхность почвы. В течение первых двух лет осуществляют ручную прополку сорняков 2–3 раза за летний период. В последующие годы хороший эффект достигается многократным скашиванием возвышающихся над клюквой сорных растений. При сильном разрастании сорняков в США и Канаде применяют гербициды. Ранней весной, до начала роста побегов клюквы вносят один из препаратов группы глифосата (раундап, ураган, утал и др.) в дозе 0.5–1.5 кг на гектар действующего вещества (Руководство…, 1992). Хорошие результаты на плодоносящих плантациях клюквы крупноплодной в Беларуси получены при внесении гербицида симазина весной в дозе 3–4 кг действующего вещества на гектар (Руководство…, 1992). Кроме опрыскивания посадок эффективным способом борьбы с сорняками является намазывание их раствором гербицидов, в частности утала или раундапа специальным валиком. В зависимости от засоренности применяют дозы утала (раундапа) от 0.5 до 2–3 кг/га действующего вещества.
На плантациях клюквы болотной и крупноплодной выявлено несколько видов болезней. Наибольшую опасность представляет так называемая снежная плесень, поражающая листья и стебли. В качестве меры борьбы с этой болезнью рекомендуют применение фундазола в дозе 0.6 кг/га способом опрыскивания водным раствором (600 л воды на 1 га) поздней осенью (перед выпадением снега). Эффективна также такая мера как затопление полей плантации на зиму водой и вмораживание растений клюквы в лед (Руководство…, 1992).
Этот прием широко применяется на плантациях США и Канады для защиты клюквы от зимних морозов. Затопление производят после устойчивого перехода среднесуточной температуры воздуха рубежа – 5° С и промерзания верхнего слоя почвы на глубину 3–4 см. Воду на плантацию подают несколько раз по мере замерзания каждого слоя и так до тех пор, пока верхушки растений клюквы не будут покрыты слоем льда.
Кратковременные затопления полей плантации применяют и в вегетационный период для защиты клюквы от заморозков. Высокоэффективным способом защиты плантаций от поздневесенних заморозков является дождевание, которое позволяет избежать повреждений клюквы при температуре до – 5° С.
Клюква болотная и крупноплодная начинают плодоносить на 3-й год после посадки черенков, но плодоношение промышленного уровня наблюдается на 4-й год. В средней полосе России реально получение 10 т ягод клюквы с гектара. Сбор ягод клюквы крупноплодной в США и Канаде осуществляют вручную (с помощью приспособлений типа совков) и механизированным способом, который подразделяется на сухой и мокрый способы. В обоих случаях применяют специальные машины, основанные на принципе счесывания ягод. При уборке урожая «мокрым» способом плантацию заливают водой и сбивают ягоды с растений. Плавающие на воде плоды «сгоняют» к одному концу поля и вычерпывают.
Плантации клюквы долговечны. В США имеются плантации, которые созданы более полувека назад.
Затраты на строительство плантаций клюквы оцениваются в 200–220 тыс. руб. на гектар, которые окупаются на второй год плодоношения или на пятый год после посадки.

Литература

1. Черкасов А. Ф. Формовая структура клюквы болотной // Научные труды УСХА, вып.229: Дикорастущие ягодники, перспективы их изучения и введения в культуру. Киев, 1979, с. 26–29
2. Черкасов А. Ф., Буткус В. Ф., Горбунов А. Б. Клюква. М., Лесная промышленность, 1981, 216 с.
3. Руководство по технологии и агротехнике плантационного выращивания клюквы, брусники и голубики. Составители: Черкасов А. Ф., Тяк Г. В., Макеев В. А., Волчков В. Е., Худобкина Т. М., Бобровникова Т. И., Евтухова Л. А. М., 1992, 54 с.
4. Черкасов А. Ф., Горбунов А. Б. Клюква. // Нетрадиционные садовые культуры. Мичуринск, 1994, с. 193–218
5. Cranberries. March, 1998.
6. Черкасов А. Ф. Клюква на садовых участках. Кострома, ГУИПП «Кострома», 2001, 72с.
11864
RSS
Нет комментариев. Ваш будет первым!